B Type Pumping Unit / Beam Balanced Pumping Unit
Beam Balanced pumping units have been designed to International Standard requirements for pumping unit design. In addition, all individual components of the unit and the unit as a whole represent the very best engineering design, production facilities, quality, and field experience.
- Sanjack has passed ISO9001, SO14001 and OHSAS18001 certificate.
- Sanjack adopt the principle of combining International Standard, National Standard and User’s view to design.
- Full support on your customised requirement
The Beam Balanced pumping unit is a Class I lever system having beam counterbalance.
The Beam Balanced unit may be operated in either direction of rotation.
The four-bar lever system converts rotational motion at the crank to reciprocating motion at the horsehead and in turn to the downhole pump.

Beam Balanced pumping units have been designed to International standard requirements for pumping unit design.
In addition, all individual components of the unit and the unit as a whole represent the very best engineering design, production facilities, quality, and field experience.
The Beam Balanced unit will give many years of dependable service when properly installed, maintained, and operated within its load and torque ratings.

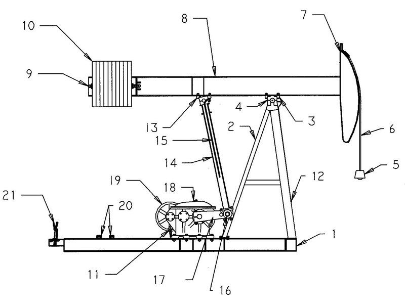
1.Base 2.Samson Post 3. Center Bearing 4. Clamp Block 5.Carrier Bar 6.Wireline Assembly
7.Horsehead 8.Walking Beam 9. Counterbalance Adjustment Screw Assembly
10.Beam Weights 11.Brakeshoe w/Lever Assembly 12.Saddle Bearing Lube Line
13.Tail earing 14.Pitman 15.Tail Bearing Lube Line 16.Crank Pin Bearing Assembly
17.Crank Arm 18.Gear Reducer 19.Sheave 20.Motor Rails 21.Brake Lever
Features:
- The structure is simple. The operation and maintenance are convenient and the service life is long.
- The involute or double arc herringbone gear reducer runs smoothly and reliably.
- The quality of the whole unit is small. The installation and transportation are convenient.
- This unit is suitable for the shallow wells with short stroke and small load.
- Good balance effect and energy saving.
| Model | ||||||||
| Item | B25D-67-36 | B40D-89-48 | B57D-76-48 | B57D-109-54 | B80D-133-54 | B80D-119-64 | ||
| Basic Parameters | Rated Polish Rod Capacity (lbs) | 6,700 | 8,900 | 7,600 | 10,900 | 13,300 | 11,900 | |
| Designat Stroke Length (in) | 36 | 48 | 48 | 54 | 54 | 64 | ||
| Max. Stroke Frequency (r/min) | 20 | 20 | 20 | 20 | 20 | 20 | ||
| Balanced Type | Beam Balanced | |||||||
| Crank Direction | Clockwise or Counterclockwise | |||||||
| Gear Reducer |
Rated Torque(in.lbs) | 25,000 | 40,000 | 57,000 | 57,000 | 80,000 | 80,000 | |
| Model | 25D | 40D | 57D | 57D | 80D | 80D | ||
| Gear Type | Double circular arc gear reducer or Involute gear reducer | |||||||
| Reducing Ratio | 32.85 | 32.18 | 31.73 | 31.73 | 31.74 | 31.74 | ||
| Center Range (in) | 16.54 | 17.72 | 19.685 | 19.685 | 21.65 | 21.65 | ||
| Center Height (in) | 11.811 | 12.2 | 13.386 | 13.386 | 13.78 | 13.78 | ||
| Oil Storage quantity(U.S. Gal) | 8 | 9 | 12 | 12 | 16 | 16 | ||
| Lubricant | 20# Gear lubricant in winter,200# Gear lubricant in summer | |||||||
| Sheave Diameter(in) | 20″ | 20″ | 25″ | 25″ | 25″ | 25″ | ||
| Sheave groove type | 2B | 3B | 3B | 3B | 3B | 3B | ||
| Balance Assembly | Weight of Cranks (Lbs) | 115×2 | 211×2 | 211×2 | 211×2 | 211×2 | 213×2 | |
| Wrist Pin bore Positions (in) |
stroke 1 | 12.01 | 17.72 | 17.72 | 17.72 | 17.72 | 18.11 | |
| stroke 2 | 12.01 | 17.72 | 17.72 | 17.72 | 17.72 | 18.11 | ||
| stroke 3 | 7.99 | |||||||
| stroke 4 | 7.99 | |||||||
| Distance between equalizer and center bearing, in | stroke 1 | 26.65 | 45.28 | 45.28 | 45.28 | 45.28 | 41.93 | |
| stroke 2 | 32.68 | 58.27 | 58.27 | 58.27 | 58.27 | 54.92 | ||
| stroke 3 | 26.65 | |||||||
| stroke 4 | 32.68 | |||||||
| Wireline | Type | 16 6×37+IWR-1770 | 22 6×37+IWR-1770 | 22 6×37+IWR-1770 | 22 6×37+IWR-1770 | 22 6×37+IWR-1770 | 22 6×37+IWR-1770 | |
| Length, in | 103 | 163.5 | 169.3 | 176 | 176 | 193 | ||
| Other | Overall Dimensions L*W*H (in) |
148×75×120 | 209×82×142 | 211×82×142 | 223×87×151 | 223×87×151 | 220×87×155 | |









